电气开关基本知识
一、行程开关
行程开关(SQ)又称限位开关,是一种常用的小电流主令电器。
1、行程开关的用途
行程开关是利用机械运动部件的碰撞或接近使其触头动作来实现接通或分断控制电路,将机械的极限位置用电信号传出,用以限制机械运动的位置或行程,使运动机械按一定位置或行程自动停止、反向运动、变速运动或自动往返运动等。
行程开关广泛应用于各类机床和起重机械,可以安装在相对静止的物体(如固定架、门框等)上或者运动的物体(如行车、门等)上,用以控制其行程、进行终端限位保护。
2、行程开关的结构
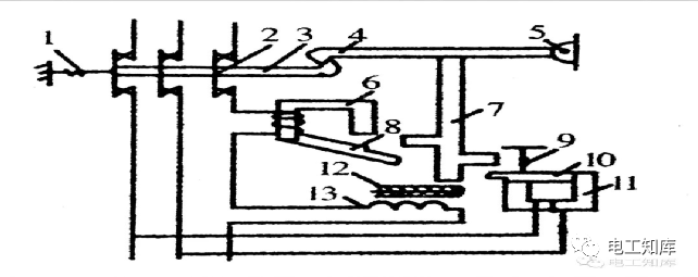
行程开关的常见形式有按钮式和转臂式两种。按钮式行程开关与按钮开关极其类似,不同之处是它依靠机械运动部件碰撞行程开关的推杆,自动控制触头的通断。如下图所示,行程开关由触点或微动开关、操作机构及外壳等部分组成。借助机械部件上的撞块,触动操作机构推动微动开关,使触点闭合或断开。大多数行程开关具有反力系统,被机械运动部件碰撞之后能自动复位。

二、组合开关
组合开关(SCB)又称万能转换开关,是一种多路多极、可以控制多个电气回路通断的主令开关。
1、组合开关的型号及含义

2、组合开关的用途
组合开关有较多的操作位置,可在各种低压配电设备中用于非频繁地接通和分断电路,作为配电设备的远距离控制开关、各种仪表的切换开关、正反转转换开关和双速电动机的变速开关等。
3、组合开关的结构
组合开关由多层绝缘壳体组装而成,可立体布置,减小了安装面积,结构简单、紧凑,操作安全、可靠。如下图所示,组合开关主要由接触系统、定位机构、手柄等部件组成,这些部件通过螺栓紧固为一个整体。

1)接触系统是由数个装嵌在绝缘壳体内的静触头座和可动支架中的动触头构成。动触头是双断点对接式触桥,每个触桥依靠弹簧与静触头接触,由套在六方转轴上的凸轮控制其接通或断开。
2)定位机构采用滚轮卡棘轮结构,配置不同的限位件,可获得不同档位的开关。
3)各触头的闭合规律由触头闭合表来描述,如上图(c)所示,表中开关手柄在某位置时触头的状态“X”表示触头闭合。配电板上常用这种组合开关完成测量每相电压、电流或用于某个设备的控制方式、控制部位选择。
4、组合开关的工作原理
下图为HZ10系列普通型(所有极同时接通和分断)三极组合开关的结构图:

这种开关有三副静触片,静触片的一边固定在绝缘底板上,另一边伸出盒外并附有接线柱连接电源和用电设备。三副动触片装在另外的绝缘垫板上,垫板套在有手柄的绝缘杆上,手柄能沿任意方向旋转90°并带动三个动触片分别与三副静触片保持通断。为了使开关在切断负载电路时产生的电弧能迅速熄灭,在开关的转轴上装有扭簧储能机构,使开关能快速闭合与分断,其分断速度与手柄旋转速度无关。
5、组合开关的使用
1)组合开关可以按线路的要求组成不同接法的开关,以适应不同电路的要求。在控制和测量系统中,采用组合开关可进行电路的转换。例如电动机的正反转倒换,测量回路中电压、电流的换相等。用组合开关代替刀开关使用,不仅可使控制回路或测量回路简单化,并且能避免操作上的差错,还能够减少使用元件的数量。
2)组合开关可以直接启动5kW以下的电动机,直接控制电动机时,其额定电流可取电动机额定电流的2~3倍。由于它的分断能力不强,用于控制电动机正反转的组合开关,换向时必须在电动机完全停止转动后才允许反向接通。
3)转换开关的常见故障
(1)由于开关的固定螺钉松动,旋转操作频繁,引起导线压接处松动,造成外部接触不良,甚至断路等;
(2)开关内的扭簧松软或断裂,使开关动触片无法转动,改变了触点的位置;
(3)开关内部的动、静触片接触不良或额定电流小于负载电流,造成触点烧伤等。
三、闸刀开关
HK系列开启式负荷开关又称闸刀开关,广泛应用于500V以下的配电设备中,用来不频繁手动接通、切断小电流电路或隔离电源,以确保检修、操作人员的安全。
1、闸刀开关的型号及含义

2、闸刀开关的结构
下图为闸刀开关的结构图,该开关由闸刀、熔丝、接线座、胶盖及瓷底座等组成。胶盖的作用是防止操作人员触及带电部分;防止电弧飞出胶盖外灼伤操作人员;防止金属物件掉落在闸刀上产生极间短路;并且将各极隔开,防止极间飞弧导致电源的短路。

3、闸刀开关的技术参数及选用
1)闸刀开关的主要技术参数有额定电压、额定电流、通断能力、机械寿命和电气寿命。
2)闸刀开关选用时,要求闸刀开关的额定电压要大于或等于线路实际的最高电压。在作隔离开关选用时,要求闸刀开关的额定电流要大于或等于线路实际的工作电流。胶壳闸刀开关不适用于直接控制5.5kW以上的交流电动机。
4、闸刀开关的安装
闸刀开关必须垂直安装,接通状态时,手柄应朝上;切断状态时,手柄应朝下。不能倒装或平装,以防止手柄自动或因无明显合断标志产生误合闸事故。电源进线应接在上端静触头的进线座上,用电设备接在下端熔丝的出线座上。接线时进出线不能接反,防止更换熔丝时发生触电事故。
5、闸刀开关的使用
闸刀开关没有灭弧装置,仅利用胶盖遮护防止电弧灼伤人手,因而不宜带负荷操作。若需要带一般性负荷操作时,动作要快,使电弧尽快熄灭。二极开关适用于低压小电流的照明、电热控制回路;三极开关适用于3kW以下小型电动机手动不频繁操作的直接启动和分断,但其额定电流应为电动机额定电流的2.5倍以上。
四、铁壳开关
HH系列封闭式负荷开关又称铁壳开关,它采用储能分合闸方式,提高了分合闸速度,降低了触头系统的电气磨损,延长了开关的使用寿命;设置了联锁装置,保证开关在合闸状态时开关盖不能打开,开关盖开启时开关不能合闸,从而保证了使用的安全性。
1、铁壳开关的型号及含义

2、铁壳开关的结构
下图为HH系列封闭式负荷开关的结构图,该开关主要由触头及其灭弧系统、熔断器、操作机构等三部分共同装在一个防护铁壳内构成。铁壳开关是在闸刀开关的基础上改进的,灭弧性能和操作性能都优于闸刀开关。

铁壳开关的手柄转轴与底座之间装有一个速断(合)弹簧,当拉或推手柄进行分合闸时,只要转轴转到一定的角度,弹簧力就能使闸刀快速地与夹座分离或接通,以达到减小电弧,保护闸刀刀片的目的。铁壳开关内装有熔断器,起短路保护作用。
3、铁壳开关的选用
铁壳开关用来控制一般电热、照明电路时,开关的额定电流按各电路的额定电流来选择;在作控制电动机启动和停止时,要求额定电流大于或等于2倍电动机额定电流。
4、铁壳开关的安装
铁壳开关应垂直固定安装,接线时电源线应接在夹座上不与熔断器直接相连的接线座上,电流先经过刀开关,再经过熔断器,然后进入用电设备,这样闸刀开关分断后,用电设备和熔断器都不带电,以保证检修安全。铁壳开关外壳应可靠接地,防止意外漏电使操作者发生触电事故。
5、铁壳开关的使用
铁壳开关不带过载保护,只有熔断器作短路保护,因此很可能因一相熔断器熔断而导致电动机缺相运行,所以不宜采用该开关来控制大容量的电动机,可用于不频繁启动28kW以下的三相异步电动机。铁壳开关使用时不允许随意放在地上,也不允许面对着开关进行操作,以免万一发生故障而开关又分断不了短路电流时,铁壳损坏伤人。
五、自动空气开关
自动空气开关又称自动开关或自动空气断路器,是低压配电网络和电力拖动系统中非常重要的一种电器,它集控制和多种保护功能于一身,除能完成接通和分断电路外,还能对电路或电气设备发生的短路、严重过载及欠电压等进行保护,同时也可用于不频繁地启动电动机。由于自动开关具有操作安全、分断能力较高、动作值可以调整、有多种保护功能且动作后一般不需要更换零部件等优点,因而得到了广泛的应用。
1、自动空气开关的型号及含义

2、自动空气开关的分类
1)按极数分:单极、两极和三极。
2)按保护形式分:电磁脱扣器式、热脱扣器式、复合脱扣器式和无脱扣器式。
3)按全分断时间分:一般式和快速式(先于脱扣机构动作,脱扣时间在0.02秒以内)。
4)按结构型式分:塑壳式、框架式、限流式、直流快速式、灭磁式和漏电保护式。
3、自动空气开关的结构
塑料外壳式自动空气开关又称装置式自动开关,有DZ4、DZ5 、DZ10等系列产品,常用于照明、动力配电装置中,也可用于不频繁直接启动的电动机。如下图,DZ5自动空气开关主要由触头系统、灭弧装置、操作结构和保护系统几部分组成。

1)触头系统
由镶有银基合金的三对动、静触头串于主电路作为主触头,另有常开、常闭辅助触头各一对。触头采用直动式双断口桥式触头。
2)灭弧装置
开关内装有灭弧罩,罩内有相互绝缘的镀铜钢片组成灭弧栅片,以便于在切断短路电流时加速灭弧和提高断流能力。
3)操作结构
操作结构有合闸、维持和分闸三部分,在外壳上伸出分、合两个按钮,有手动和自动两种。
4)保护系统
(1)过流脱扣器(电磁脱扣器)
过流脱扣器上的线圈串联于主电路内,线路正常工作通过正常电流时,产生的电磁吸力不足以使衔铁吸合,脱扣器的上下搭钩钩住,使三对主触头闭合。当线路发生短路或严重过载时,电磁脱扣器的电磁吸力增大,将衔铁吸合,向上撞击杠杆,使上下搭钩脱离,弹簧力把三对主触头的动触头拉开,实现自动跳闸,达到切断电路的目的。
(2)失压脱扣器
当线路电压下降或失去时,失压脱扣器的线圈产生的电磁吸力减少或消失,衔铁被弹簧拉开,撞击杠杆,搭钩脱离,断开主触头,实现自动跳闸。用于电动机的失压保护。
(3)热脱扣器
热脱扣器的热元件串联在主电路中,当线路过载时,过载电流流过发热元件,双金属片受热弯曲,撞击杠杆,搭钩分离,主触头断开,起过载保护作用。跳闸后不能立即合闸,须等1~3min,待双金属片冷却复位后才能再合闸。
4、自动空气开关的工作原理


1)如上图所示,2为自动空气开关的三对主触头,串联在被控制和保护的三相电路中。当按下“合”按钮时,通过操作机构由锁链3钩住搭钩4,克服弹簧1的拉力使三对主触头2保闭合状态。搭钩4可以绕轴5转动。
2)电路工作正常时,电磁脱扣器6的线圈所产生的电磁吸力不能将衔铁8吸合,三对主触头继续保持闭合。
3)当电路发生短路故障时,流过电磁脱扣器6线圈的电流大大增加,产生的电磁吸力增加,将衔铁8吸合并撞击杠杆7,将搭钩4往上顶,使其与锁链3脱离,在弹簧1的作用下,使三对主触头2断开,切断电路进行短路保护。
4)电路中的电压不足(小于额定电压的85%)或失去电压时,欠电压脱扣器11的吸力减小或消失,衔铁10被弹簧9拉开,撞击杠杆7将搭钩4顶开,切断电路进行欠压和失压保护。
5)电路过载时,过载电流流过热脱扣器的发热元件13使双金属片12受热弯曲,将杠杆7顶开,切断电路进行过载保护。
6)电磁脱扣器带有调节螺钉,以便调节瞬时脱扣整定电流。在操作机构上有过载脱扣电流调节盘,用于调节热脱扣器的整定电流。
5、自动空气开关的选用
1)自动空气开关的额定电压应不小于线路正常工作额定电压。
2)自动空气开关的额定电流应不小于线路正常负载工作电流。
3)热脱扣器的整定电流应等于所控制负载的额定电流。
4)电磁脱扣器的瞬时脱扣整定电流应大于负载电路正常工作时的峰值电流。
6、自动空气开关的常见故障及处理
1)开关温度过高
(1)触头压力过低
调整触头压力或更换弹簧。
(2)触头表面过分磨损或接触不良
更换触头或清理接触面。
(3)两个导电零件连接螺丝松动
拧紧螺丝。
(4)触头表面脏污和氧化
清除油污或氧化层。
2)辅助开关不通
(1)辅助开关的动触头卡死或脱落
拨正或重新装好触头。
(2)辅助开关传动杆断裂或滚轮脱落
更换传动杆或辅助开关。
(3)触头不接触或氧化
调整触头,清理氧化膜。
3)带半导体脱扣器的空气开关误动作
(1)半导体脱扣器元器件损坏
更换损坏的半导体脱扣器元器件。
(2)外界电磁干扰
清除外界电磁干扰,例如邻近的大型电磁铁的操作、接触器的分断、电焊等,予以隔离或更换线路。
4)手动操作不能闭合
(1)欠压脱扣器无电压或线圈损坏
检查线路,施加电压或更换线圈。
(2)储能弹簧变形,导致闭合力减小
更换储能弹簧。
(3)反作用弹簧力过大
重新调整弹簧反作用力。
(4)机构不能复位再扣
调整再扣接触面至规定值。
5)有一相触头不能闭合
(1)一般型开关的一相连杆断裂
更换连杆。
(2)限流型开关斥力机构的可斥连杆之间的角度变大
调整至原技术条件规定值。
6)分励脱扣器不能使开关分断
(1)线圈短路
更换线圈。
(2)电源电压太低
调整电源电压。
(3)再扣接触面太大
重新调整再扣接触面。
(4)螺丝松动
拧紧螺丝。
7)欠电压脱扣器不能使开关分断
(1)反力弹簧作用力变小
调整反力弹簧。
(2)储能弹簧力变小或断裂
调整或更换储能弹簧。
(3)机构卡死
消除卡死原因(如生锈)。
8)带负荷启动时开关立即分断
(1)过电流脱扣器瞬动整定值太小
调整过电流脱扣器瞬动整定值。
(2)脱扣器某些零件损坏
更换脱扣器或更换损坏的零部件,如半导器件、橡皮膜等。
(3)脱扣器反力弹簧断裂或落下
更换脱扣器反力弹簧或重新装上。
9)带负荷一定时间后自行分断
(1)过电流脱扣器长延时整定值不对
重新调整过电流脱扣器长延时整定值。
(2)热元件或半导体延时电路元件整定值不对
调整热元件或半导体延时电路元件整定值。
10)欠电压脱扣器噪声大
(1)反作用弹簧压力太大
重新调整反作用弹簧压力。
(2)铁芯工作面有油污
清除铁芯工作面的油污。
(3)短路环断裂
更换短路环。
六、高压隔离开关
高压隔离开关又称隔离刀闸,没有专门的灭弧装置,不能用来切断负荷电流和短路电流,使用时应与断路器配合,只有在断路器断开后才可进行操作。它的主要作用是配合断路器接通和断开电源,改变设备的运行状态。
1、高压隔离开关的型号及含义

1)产品名称,G表示隔离开关,J表示接地开关。
2)安装场所,N为户内式,W为户外式。
3)设计系列序号,用数字表示。
4)额定电压,单位为KV。
5)补充工作特性,D表示带接地刀闸,G表示改进型,K表示快分型,T表示统一设计,W表示防污型。
6)额定电流,单位为A。
例如,GN2-10/400型表示额定电压为10KV、额定电流为400A、序列号为2的户内式隔离开关。
2、高压隔离开关的用途
1)用来隔离电源,保证检修安全,使检修的电气设备与电源有明显的断开点;
2)进行倒闸操作以改变系统运行方式,如在双母线运行的电路中,利用隔离开关将设备或线路从一组母线切换到另一组母线上去;
3)在一定情况下,可以用来接通和切断小电流电路。如利用隔离开关可进行以下操作:
(1)分,合电压互感器和避雷器回路。
(2)分,合母线的充电电流。
(3)分,合励磁电流不超过2A的空载变压器和电容电流不超过5A的空载线路。
3、高压隔离开关的分类
1)按安装场所分为:户内和户外两种;
2)按极数分为:单极和三极两种;
3)按绝缘支柱的数目分为:单柱式、双柱式和三柱式三种;
4)按结构特点分为:闸刀式,螺旋式和插入式三种;
5)按作用不同分为:带接地刀开关和不带接地刀开关两种;
6)按配用的操纵机构分为:手动、电动和气动操作机构等类型。
4、高压隔离开关的结构
隔离开关主要由支持底座、导电部分、绝缘子、传动机构和操动机构组成。
1)支持底座
该部分的作用是起支持和固定作用,它将导电部分、绝缘子、传动机构、操动机构等固定为一体,并使其固定在基础上。
2)导电部分
包括触头、闸刀、接线座,该部分的作用是传导电路中的电流。
3)绝缘子
包括支持绝缘子、操作绝缘子,其作用是将带电部分和接地部分绝缘开来。
4)传动机构
它的作用是接受操动机构的力矩,并通过拐臂、连杆、轴齿或是操作绝缘子,将运动传动给触头,以完成隔离开关的分、合闸动作。
5)操动机构
与断路器操动机构一样,通过手动、电动、气动、液压向隔离开关的动作提供能源。
5、高压隔离开关的常见故障及处理
1)拒绝分闸
(1)隔离开关拒绝分闸的原因:
冰冻引起拒分;传动机构卡滞;接触部分卡住。
(2)处理方法如下:
扳动操动机构手柄,找出故障部分进行处理,切不可强行拉开,以免损坏部件。
2)拒绝合闸
(1)隔离开关拒绝合闸的原因:
合闸回路故障;轴销脱落,铸铁件断裂,使刀闸与传动机构脱节;传动机构松动,使两接触面不在一条直线上。
(2)处理方法如下:
检查合闸回路各接点接触面的接触状态以及导线否有断线;将轴销固定好,更换损坏的部件;调整松动部分,使两接触面处在一条直线上。
3)接触部分发热
(1)接触部分发热的原因:
压紧弹簧或螺丝松动;接触面氧化使接触电阻增大;刀片与静触头接触面积太小,或过负载运行;在拉、合闸过程中,引起电弧烧伤触头或用力不当,使接触位置不正,引起触头压力降低。
(2)处理方法如下:
检查并调整弹簧压力,必要时更换压紧弹簧;用零号砂纸清除接触面氧化层,研磨接触面以增大接触面积,并在触头上凃中性凡士林;停电处理之前,应降负荷使用或更换容量较大的隔离开关;操作时要用力适当,操作后仔细检查触头接触情况。
4)绝缘子松动和表面闪络
(1)绝缘子松动和表面闪络的原因:
表面脏污;胶合剂发生不应有的膨胀或收缩而产生松动;外力作用使绝缘子胶合部分产生松动。
(2)处理方法如下:
停电用水冲洗绝缘子,结合停电进行清扫,或在绝缘子表面涂上防污闪涂料;
更换松动的绝缘子;重新胶合。
6、高压隔离开关的检查和维修
1)接触部分过热
压紧弹簧弹性减弱,螺丝松动或接触表面氧化,电阻增加,温度升高。应减少负荷或停电检修。
2)三相闭合不同期
检查三相联动开关的闭合同期性,误差不超过3mm。
3)分合闸不灵活
开关或其操作机构的转动部分生锈,或者触头在严重发热时熔焊在一起。应修理触头并加润滑油。
4)瓷瓶裂缝或损坏
操作时用力过猛或开关与母线的连接不好而造成的。应立即更换。
5)运行温度过高
隔离开关运行温度不应超过70℃,可用变色漆或示温蜡片、红外线测温监视。
6)检查刀片和刀嘴的消弧角应无烧伤、不变形、不腐蚀、不倾斜;绝缘应完整,无裂纹、无电晕和放电现象,闭锁装置良好。
7)在隔离开关拉开后,检查电磁连锁或机构连锁装置的销子应牢靠,隔离开关的辅助接点位置应正确。
七、低压隔离刀开关
低压隔离刀开关的作用是隔离电路,使电路有明显的断开点。
1、低压隔离刀开关型号及含义

2、低压隔离刀开关的结构
HD型隔离刀开关由操作手柄、动触刀、静触刀、静触座、接线端子绝缘底座板等构成。
3、低压隔离刀开关的使用
HD型隔离刀开关没有灭弧罩,不可以带负荷操作,只能与低压断路器配合使用。只有当低压断路器切断电源后,才允许操作隔离刀开关。
八、负荷开关
1、负荷开关的特点
负荷开关是介于断路器和隔离开关之间的一种开关电器,具有简单的灭弧装置,能切断额定负荷电流和一定的过载电流,但不能切断短路电流。
2、高压负荷开关
高压负荷开关专门用于高压装置中通断负荷电流,因此,负荷开关具有灭弧装置。由于负荷开关设计时只考虑通断一定的负荷电流,其断流能力不大,因此不能用来断开短路电流。线路的短路故障只能借助于它串联的高压熔断器来进行保护。当故障电流大于负荷开关的开断能力时,必须保证熔断器先熔断,然后负荷开关才能分闸。当故障电流小于负荷开关的开断能力时,则负荷开关断开,熔断器不动作。
1)高压负荷开关的型号及含义

2)高压负荷开关的结构
(1)高压负荷开关是介于高压隔离开关与高压断路器之间的一种高压电器,在性能上与断路器相近,在结构上与高压隔离开关相似,有明显的断开点。
(2)高压负荷开关具有简单的灭弧装置,可以在额定电压和额定电流的条件下接通和断开电路。但由于高压负荷开关的灭弧结构是按额定电流设计的,所以不能切断短路电流。
(3)当高压负荷开关与高压熔断器配合使用时,由高压负荷开关分、合正常负载电路,由高压熔断器分断短路电流。高压负荷开关串联高压熔断器的组合方式常应用于l0kV及以下小容量的配电系统中。
3)高压负荷开关的用途
高压负荷开关可以分、合其额定电流范围内的负荷电流及切断不大的过载电流。不能分、合短路故障电流。拉开后有明显的断开点,可以隔离电源。可作为中小容量设备及线路的开关点,还可以配有能断开短路故障电流的高压熔断器。
3、低压负荷开关
低压负荷开关又称开关熔断器组。适用于交流工频电路中,以手动不频繁地通断有载电路;也可用于线路的过载与短路保护。通断电路由触刀完成,过载与短路保护由熔断器完成。
1)低压负荷开关的型号及含义

2)低压负荷开关的特点
胶盖闸刀开关和铁壳开关均属于低压负荷开关。小容量的低压负荷开关触头分合速度与手柄操作速度有关。容量较大的低压负荷开关操作机构采用弹簧储能动作原理,分合速度与手柄操作的速度快慢无关,结构较简单,并附有可靠的机械联锁装置,盖子打开后开关不能合闸,开关合闸后盖子不能打开,可保证使用安全。
九、HR系列熔断器式刀熔开关
1、刀熔开关的型号及含义

2、刀熔开关的结构
一种是将刀开关和熔断器组装在一起;另一种是直接用有较高分断能力的RTO系列有填料式熔断器作动触刀,制成两断口并带有灭弧室的刀熔开关。
3、刀熔开关的用途
熔断器式刀开关适用于交、直流低压电路,负荷小于600A的配电网络中,用于分、合电路,并具有过负荷和短路保护的作用。
同类文章排行
- 我国氢能产业发展迎来重要窗口期
- 关于矿用整流柜的使用环境
- 整流柜有哪些外形特征?
- 关于高频开关电源发展的四大趋势
- 我国新能源发展现状
- 国家能源局:可再生能源,完善绿色电力
- 氢能在工业领域的妙用:你知道多少?
- 国家能源局组织发布《新型电力系统发展蓝皮书》
- 2023世界氢能技术大会中外对话:氢能国际合作机遇与挑战
- 中国氢能产业具备10万亿规模潜力







关注微信
手机网站
微信咨询